Статья из категории: Строительство

Как построить забор: простой, но на века

Как построить забор

Ограждение садовых участков - тема актуальная. Читатели уже не раз предлагали различные варианты изгородей и заборов, однако многие конструкции обладают одним недостатком - требуют существенных материальных и трудовых затрат.

Думаю, именно по этой причине предлагаемые решения неприемлемы для большинства садоводов. Тем более сейчас, когда цены на строительные материалы взлетели до небес. Нет, дачникам в глубинке требуется что-нибудь попроще и по реальнее. У меня тоже возникла однажды необходимость срочно построить забор, и я решил разработать проект, отличающийся следующими положительными свойствами: 1) минимальные финансовые затраты на материалы; 2) минимальные трудовые затраты; 3) возможность строительства в осенне-зимний период (летом хватает другой работы); 4) использование материалов - бревен, жердей и т.д., - которые у многих валяются на участке и захламляют его; 5) наличие простейших инструментов: кувалды (8 кг), пилы-ножовки, молотка, топора, долота. (Применение электроинструментов я исключил, так как в саду нет электричества.) Проект был разработан, забор в кратчайшие сроки построен.

Изюминкой стала придуманная мной опора оригинальной конструкции. На мой взгляд, это новая разработка, которой я не встречал в литературе, - мое собственное изобретение.


Эта конструкция опоры отличается тем, что позволяет: - устанавливать стойки без производства земляных работ; - устанавливать столбы на участке со скальным грунтом, где даже неглубокую ямку выкопать невозможно (именно на таком грунте расположен наш участок); - работать в осенне-зимний период; - использовать в качестве несущих элементов металлические отходы - куски арматуры, трубы (как круглого, так и квадратного сечения), уголки разных размеров и т.д.; - обходиться без применения бетона и растворов, которые зимой практически исключаются; - использовать ручные инструменты вместо сложной техники.

Как построить заборКак построить забор

В результате забор я построил один, без посторонней помощи, когда мне было 62 года. Расчеты были выполнены с учетом устойчивости забора при ветровых нагрузках с их предельными значениями для нашего уральского региона. Был обеспечен пятикратный запас прочности, что подтвердили все 27 лет эксплуатации (фото 1-2). А ведь за эти годы нередко налетали штормовые ветра. В лесу, стоящем рядом с садом, слумались завалы деревьев, но забор не получил никаких повреждений.

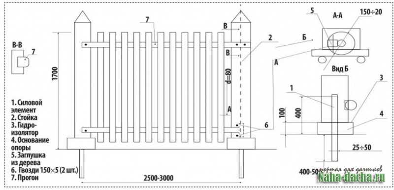
3a 27 лет я не заменил ни одной стойки, ни одного горизонтального прогона! Возведение забора осуществлялось в следующей последовательности (см. рис.).


1. По выполненной разметке забивается (строго вертикально, по уровню) в грунт силовой элемент (поз. 1). Оптимальный вариант - арматурный пруток диаметром 25-30 мм: он лучше проникает в сложные скальные грунты, да и на подготовку паза под него в столбе затрачивается меньше времени и сил.

2. На землю в целях гидроизоляции устанавливается основание (поз. 4) без применения бетона и раствора.

3. Устанавливается гидроизолирующая прокладка (поз. 3) - кусок толя, рубероида или пластика из 5-литро-вой бутыли.

4. На прокладку устанавливается деревянный столб (поз. 2). Вертикальные деревянные элементы практически не подвержены гниению, если в них не попадает влага снизу. Столбы устанавливаются так, чтобы паз под силовой элемент совпадал с направлением забора.

5. Соседние стойки связываются горизонтальными прогонами (поз. 7), и на них устанавливаются ограждающие элементы - сетка, доски, жерди и т.п.

Как построить заборКак построить забор

Такая конструкция является жесткой и препятствует всем внешним силам и воздействиям. Опыт эксплуатации забора показал абсолютную надежность предлагаемых опор. Кстати, идея установки деревянных стоек на силовые металлические опоры была использована мной и при сооружении других конструкций -пергол, разделительных заборчиков, решеток для лиан, арок и пр. (фото 3-4). Вывод. Следуя моему примеру, садоводы и сельские жители смогут строить экономичные заборы и ограждения, которые прослужат без ремонтов несколько десятков лет. А если при строительстве подобных заборов использовать струганые доски, обработанные антисептиком или морилкой, то можно создать долговечные красивые ограждения, которые будут радовать и самих строителей, и их потомков!

Кстати, любой забор можно украсить с помощью живых и искусственных цветов, орнаментов, изделий из металла и керамики и т.д. - простор для творчества тут огромный! Хотелось бы получать больше писем на эту тему, ведь ограда участка - важный элемент дачной эстетики.

Похожие статьи:
  • Теплица без каркаса на заборе Теплица без каркаса на заборе Со временем обратил внимание, что с моей стороны забора растения растут намного быстрее и...
    Забор по доступной цене Забор по доступной цене Забор по доступной цене с отличными техническими характеристиками - это больше, чем реальность....
    Железное ограждение без коррозии Железное ограждение без коррозии Сварной забор из прутьев - отличная возможность быстрого ограждения любой территории. Отличием...
    Забор для дачи из профнастила Забор для дачи из профнастила Подходить к созданию забора нужно основательно. Не у всех есть возможность построить его из...
    Дачные ворота своими руками Дачные ворота своими руками Решил построить на дачном участке добротный забор с въездными воротами. Сейчас в продаже огромное...
    Прозрачные заборы для дачи Прозрачные заборы для дачи В прошлые времена люди сооружали высокие заборы для защиты своей территории от врагов. Сегодня для...
  •   ::   просмотров - 2013   ::   комметариев - 0

    Популярное

    календарь дачника
    «    Январь 2026    »
    ПнВтСрЧтПтСбВс
     
    1
    2
    3
    4
    5
    6
    7
    8
    9
    10
    11
    12
    13
    14
    15
    16
    17
    18
    19
    20
    21
    22
    23
    24
    25
    26
    27
    28
    29
    30
    31
     
    Обрати внимание:
    Наши друзья
    Благодаря сайту www.umeltsi.ru вы можете построить дом, дачу, сделать ремонт квартиры, создать самодельные станки, приспособления, тоесть сделать - самоделки своми руками.
    Счетчики