Статья из категории: Самоделки

Садовая ширма

ширма для сада

Эта переносная изгородь — по типу ширмы, ее можно применит как в саду так и на лужайке. Такой передвижной ширмой можно отделить уголок в любом месте. Изгородь будет защититой от ветра, создаст уют, но и посторонние взгляды вас не будут беспокоить. Садовую ширму можно обустроить удобными навесными съёмными полками на кронштейнах.

Изгородь-ширму несложно изготовить самостоятельно из досок сечением 20x90 мм (для обшивки) и 20x40 мм (для стоек). Её собирают из нескольких дощатых щитов, связанных петлями, в качестве которых использованы болты с кольцевыми головками, соединяемые осями-шкворнями.

ширма для садаширма для сада

1. Для крепления болта с кольцевой головкой надо в торце доски просверлить отверстие ∅6 мм до отверстия ∅18 мм просверленного на глубину примерно 2/3 толщины доски.
2. Болт с кольцевой головкой вставляют в торцевое 6-мм отверстие и фиксируют гайкой через 18-мм отверстие, получая таким образом элемент петлевого соединения.

ширма для садаширма для сада

3. Ответный элемент петлевого соединения состоит из двух болтов с кольцевыми головками.
Осью соединения служит болт-шкворень с шестигранной головкой, фиксируемый гайкой.
4. Вертикальные стойки щита с одной стороны склеивают с досками обшивки и временно фиксируют гвоздями.

ширма для садаширма для сада

5. Накладывают вторую вертикальную стойку и соединяют всё вместе с помощью клея и шурупов.
6. Доски полки-консоли с помощью шурупов соединяют с её держателем. Снизу также крепят металлические уголки.

ширма для садаширма для сада

7. Теперь полку-консоль можно просто повесить на ограду.
8. Сначала устанавливают два щита и надёжно соединяют их друг с другом. Затем монтируют следующий.

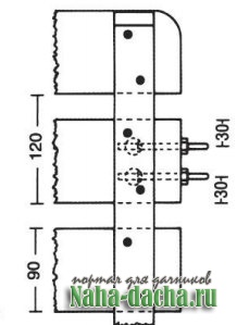
Чертежи ширмы

чертежичертежи


чертежи

В зависимости от высоты конструкции может понадобиться 2 или З самодельных шарнирных соединения.

чертежи

Пару держателей для полки -консоли несложно изготовить из обрезка доски.

Похожие статьи:
  • Пергола в саду своими руками Пергола в саду своими руками Пергола или другой элемент вертикального озеленения порой становится основным элементом сада....
    Ручной культиватор своими руками Ручной культиватор своими руками Перекопка участка, подготовка грядок к посадке... Кто не знает, что все это отнимает много сил и...
    Плуг для лебедки Плуг для лебедки Это уже третья моя самодельная модель плуга с электролебедкой. С учетом предыдущего опыта сделал ее...
    Делаем конуру для собаки Делаем конуру для собаки Крыша над головой нужна и четвероногому другу, который сторожит ваш дом. При этом не требуются...
    Скамейки для дачи Скамейки для дачи Всем, кто желает усовершенствовать дизайн садового участка, рекомендую сделать скамейку-качалку. Не...
    Прижимное для рубанка Прижимное для рубанка Данная статья — продолжение публикаций об универсальном деревообрабатывающем станке. Развитие темы...
  •   ::   просмотров - 9119   ::   комметариев - 0

    Популярное

    календарь дачника
    «    Январь 2026    »
    ПнВтСрЧтПтСбВс
     
    1
    2
    3
    4
    5
    6
    7
    8
    9
    10
    11
    12
    13
    14
    15
    16
    17
    18
    19
    20
    21
    22
    23
    24
    25
    26
    27
    28
    29
    30
    31
     
    Обрати внимание:
    Наши друзья
    Благодаря сайту www.umeltsi.ru вы можете построить дом, дачу, сделать ремонт квартиры, создать самодельные станки, приспособления, тоесть сделать - самоделки своми руками.
    Счетчики